logo nu Map
网站首页公司简介产品展示企业动态产品报价技术文章在线留言联系午夜免费福利
江苏午夜成人APP在线观看仪表有限公司
导航菜单
流量计系列
· 智能电磁流量计
· 插入式电磁流量计
· 分体式电磁流量计
· 卫生型电磁流量计
· 阿牛巴流量计
· V锥流量计
· 午夜成人小视频
· 旋进旋涡流量计
· 成人午夜免费视频
· 涡轮流量计
· 转子流量计
· 椭圆齿轮流量计
· 平衡流量计
· 弯管流量计
· 楔形流量计
· 靶式流量计
· 节流装置
· 热式气体质量流量计
· 一体化成人午夜免费视频
· 午夜免费福利
· 气体涡轮流量计
· 金属管浮子流量计
· 温压补偿午夜成人小视频
· 一体化威力巴流量计
· 蒸汽流量计
· 阀门组
温度仪表系列
· 热电阻
· 热电偶
· 温度变送器
· 双金属温度计
压力仪表系列
· 压力变送器
· 差压变送器
· 压力真空表
· 精密压力表
· 膜盒压力表
· 隔膜压力表
· 耐震压力表
· 不锈钢压力表
· 电接点压力表
校验仪表系列
· 校验仿真仪
· 多功能校验仪
· 精密数字压力计
· 全自动校验装置
· 智能压力校验仪
· 手(电,自)动气压源
· 手(电,自)动液压源
液位仪表系列
· 密度计
· 液位变送器
· 锅炉液位计
· 磁翻板液位计
· 超声波液位计
显示,记录仪表系列
· 智能巡检仪
· 智能调节仪
· 无(有)纸记录仪
· 安全栅、隔离器
料位开关/料位计
· 料位计
· 料位开关
mulu
搜索 请输入关键字
联系午夜免费福利
江苏午夜成人APP在线观看仪表有限公司
    址:江苏省金湖工业园区
    编:211600
    话:0517-86500336      
                        86500226
    真:0517-86800636
联系人:杨经      
手机:13915187193(微信同号)
E-mail:jshdyb@163.com
 
技术文章

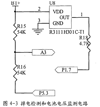
午夜成人小视频的掉电检测与电池电压监测 电路


发布日期:2024-03-25 点击:1287次
  午夜成人小视频在实际使用现场,常会遇到系统电源电压瞬时欠压和意外掉电的情况,以致重要的数据丢失而不能恢复。为了避免这些情况的出现,往往需要加上掉电检测和保护电路,以提高系统的抗干扰能力和安全性。掉电检测和保护电路能够检测到电源电压的下降,它还没有降到危及系统正常工作的电压以前就及时发出警告信号,单片机系统在收到信号后,立即转入中断服务程序进行数据的保护,待干扰脉冲过去或系统重新上电后恢复被保护的数据.
  
  使用RleoN公司生产的Lvn(LowvoltageDetector)R3111x系列中的一款R3111H301C-Tl对电池电压进行实时监测。该芯片在0.7V~I0V电压范围内能保持正常工作。当电池电压降到其复位门限电压3.0v以下时,R31llH30lCOUT脚产生负跳变,单片机PI.7管脚被配置为外部中断入口,下降沿有效,当发现负跳变电平后,立即进入中断服务程序,将重要参数和累计流量保存到外扩的铁电存储器FRAM,同时将中断触发条件改为上升沿,系统转入低功耗模式3(LPM3),此时关闭所有外设,仅保持低速时钟和中断有效,LPM3模式的功耗不到2μA。当系统电源电压重新恢复正常并且没有引起系统复位时,R3111H301COUT脚产生正跳变,在中断服务程序中退出LPM3模式,恢复数据和程序运行。如果不是电源电压波动,而是用户摘掉电池或是切换电源,被监测电压会低至引起系统复位,可在程序开始时恢复数据。系统掉电后,会有两个大电容为系统放电一段时间,支持掉电中断服务程序完成。R3111H301C耗电极低,仅有0.8A,非常适合对电池电压连续实时监测。系统供电正常,R311IH3OIC输出高电平,如果单片机Pl.7管脚未初始化为输入状态而是设置为输出低电平,会拉低R3111H301C的输出电平,不仅会烧坏R31llH301C,而且单片机PI.7过流保护二极管也会热损坏,所以在二者之间增加了限流电阻R18,起到一定的保护作用。
  午夜成人小视频除了要有掉电保护功能,还要定时检测电池电压,LCD上显示电池电量,同时在电池电量低时要有报警提示,通知用户及时更换电池,防止重要数据丢失。电路使用两个大电阻R15R16对电池电压1/2分压,送到单片机ADC12输入通道A3。为实现该电路零功耗,在串联的两电阻末端用一个GPIO(P5.3)控制该电路通断,P5.3输出低电平,检测电路有效,P5.3设置为输入,该端口为高阻态,检测电路相当于断路。只有检测电池电压时才能使该电路。
相关新闻:
电磁流量计衬里磨损检测技术要点
涡轮流量计对液体清洁度的技术要求
液体涡轮流量计轴承润滑方式及应用要点
成人午夜免费视频流量计算公式及应用说明
电磁流量计衬里更换技术规程
午夜成人小视频漩涡频率与流速的换算原理及公式
成人午夜免费视频的取压方式有哪些?
午夜免费福利的探头如何安装?
电磁流量计的绝缘电阻如何测量?
成人午夜免费视频的安装直管段长度要求是多少?
江苏午夜成人APP在线观看仪表有限公司  版权所有     地址:江苏省金湖工业园区   邮编:211600
           电话:0517-86500226   86500336 传真:0517-86800636   手机:13915187193    联系人:杨经理
E-mail:jshdyb@163.com   GoogleSitemap   baidusitemap 网址:http://www.9xiw.com 
网站地图