|
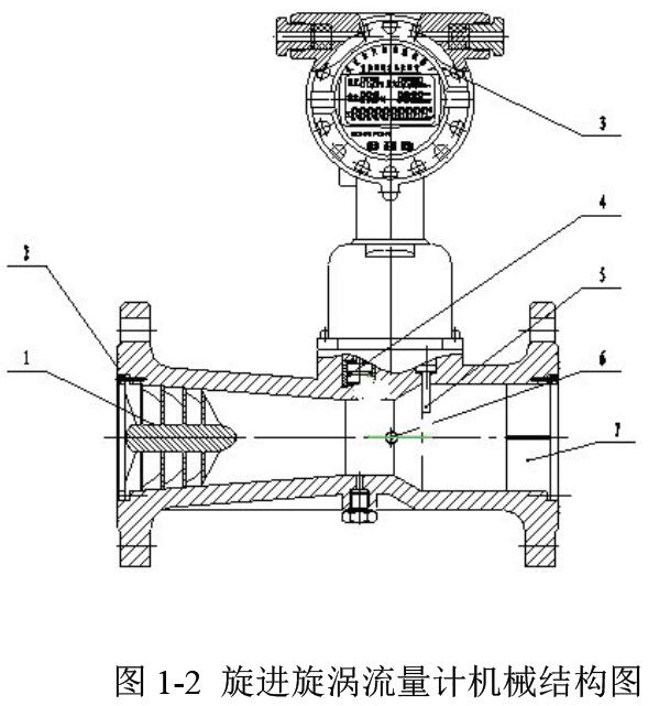
1.旋涡发生体
又名起旋器,固定在收缩管的前半部分,具有固定角度的铝合金螺旋叶片,其功能是迫使流体介质产生强烈的漩涡流。
⒉ 壳体
材质一般为铸铝合金或者不锈钢(可根据壳体内部压力大小来选择),它自带法兰盘,并具有一定形状的流体通道(包括收缩段以及扩散段)。
⒊ 智能流量计积算仪(本文主要设计部分)
以MSP430f149 单片机为处理核心,具有数字信号处理接口、温度压力检测接口、输出信号接口、并配有液晶、按键以及其他的外围电路[7]。
4. 温度传感器
本设计选用Pt100 为温度传感器,随着温度的升高或降低,其电阻值会按照其对应关系变化。(做为气体介质流量测量时,温度压力补偿计算用)
5. 压力传感器
本设计选用压电扩散硅桥路为压力传感器,在有外用力的情况下,其桥臂电阻值会呈现一定比例的变化。因此在一定的激励电流作用下,两桥臂之间的压差会与外界压力成比例变化。(做为气体介质流量测量时,温度压力补偿计算用)
6. 压电晶体传感器
对旋进旋涡流量计进动频率信号进行检测,它放置在靠近壳体扩张段的喉部(壳体流体通道扩散段处)。
⒎ 消旋器
又名整流体,把消旋器 |